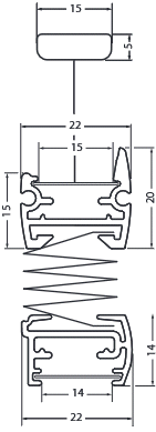
BB 15Verspanntes Modell mit feststehender Unterschiene
Modell-Information
cortina_bb15