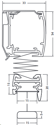
BK 10Verspannt mit Kettenzug
Modell-Information
cortina_bk10