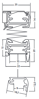
BB 66Verspanntes Modell für Fenster mit zwei Schrägen
Modell-Information
cortina_bb66